
大多数商船的空载和满载工况的吃水差异较大,在空载(轻载)时,吃水往往过浅,导致螺旋桨暴露,造成推进效率下降,以及重心过高,造成船舶航行不稳。此外,还有一些商船在作业时,需要不断的调整浮态和吃水,才能满......
大多数商船的空载和满载工况的吃水差异较大,在空载(轻载)时,吃水往往过浅,导致螺旋桨暴露,造成推进效率下降,以及重心过高,造成船舶航行不稳。此外,还有一些商船在作业时,需要不断的调整浮态和吃水,才能满足作业需求。为此,大多数商船会装备压载水系统。压载水系统是一种能将海水注入到压载水舱,或者将压载水从压载水舱排出的系统。通过对压载水舱进行压水、排水(压排载),压载水系统从而能够有效的控制船舶横倾、纵倾、吃水、稳性等,保证船舶的航行安全。

半潜船需要不断的调整浮态和吃水,才能满足作业需求
船舶压载水系统的概述压载水系统一般由压载泵、压载水管、控制阀等构成。压载泵一般采用排量大、压头底的离心泵。有足够排量的消防泵、舱底泵、总用泵也可兼做压载泵。压载泵一般设置在机舱里,压载舱的注水和排水均由这台泵实现。注水时,压载泵从海水总管中吸入海水并通过压载管系压入压载舱。排水时,则反向由压载泵经压载管系,从压载舱内吸出海水,再从舷侧排出口排出。对于压载水量巨大的大型船舶,还会单独设立专用海水箱。此时压载泵可从该海水箱直接吸水,而排出可从舷侧排出口排出,也可经海底门排出船外。

我国建造的40万吨矿砂船就设有多个压载系统专用海水箱
压载舱的布置压载水舱的布置,应尽量满足压载水系统任务的需求。对于吃水和稳性调整往往需要压入大量的压载水。例如,一艘30万吨级超大型油船(VLCC)的压载水量在10万吨左右,而一艘10万载重量的半潜船,总压载水量更是接近20万吨。如此大的压载水量需要巨大的舱容,同时还要尽可能地减少对船舶浮态的影响,所以最理想的布置位置是双层底舱。对于浮态的调整,越远离船舶重心位置的压载舱效果越好。对于横倾的调整,左右舷侧的压载水舱效果最好;对纵倾的调整,则位于船舶首部和尾部的压载水舱效果最好。总之,船舶常将首尖舱、尾尖舱、双层底舱、边舱及深舱作为压载水舱。

船舶货油舱和压载水舱布置
船舶的压载水舱那么多,压载水系统是如何保证每个舱的压排载?根据船型的不同,各类船舶的压载水舱数量都不尽相同。一些小型船舶可能仅有几个或者十几个压载水舱,而对于一些大型船舶或者特种船舶,压载水舱的数量可能多达几十甚至上百个。例如我国最大最先进的“新光华”号半潜船,全船就共设有117个压载舱,总舱容高达21万立方米。从布置看,全船各位置都布置有压载水舱,那么对于一些大型船舶来说,布置在首部的压载舱可能距离机舱有一两百米远;此外一些船舶的双层底中也可能密密麻麻分布多达几十个压载舱,面对数量如此庞大,且分布广泛的压载水舱,压载水系统要如何保证每个舱的压排载?

半潜船舶的主船体中可以分布多达几十甚至上百个压载水舱
为了解开疑惑,笔者把全船布置的压载水舱分割为货舱区、首尖舱、尾尖舱,三个区域来逐一讲解。
货舱区的压排载
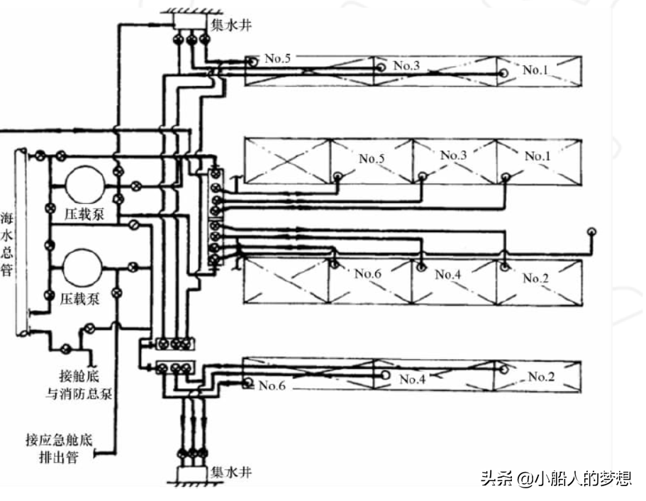
货舱区域的压载水舱,主要包括双层底舱以及边舱,它是全船压载水舱水量最大最密集的区域。对于此区域的压载水舱压排载方式,最简单的方法就是从机舱给每一个压载水舱连接一根压载水管,且把控制阀集中在机舱里,这也是就是常说的支管式。支管式的优势是阀门位于机舱,易于维护管理,但是当船舶压载水舱数量多了,会造成管路系统非常复杂,所以并不适合大型船舶。大型船舶上常用总管式。总管式是从机舱出发,沿船体纵向敷设总管,纵向总管的数量可以是一列也可以是两列甚至多列。对于各压载水舱的压排载,则是从总管向各舱引出只管,再由遥控阀门控制各只管来实现。

货舱区域压载管(支管式)
首尖舱的压排载
首尖舱的压载水管系设计和货舱区域有所不同,一是因为船舶首部有防撞舱壁,所以SOLAS及各船级社规范对首尖舱排水均有特殊规定,二是因为首尖舱远离机舱属于最远的压载水舱。按照CCS的要求:对低于干舷甲板的防撞舱壁(客船为限界线下的防撞舱壁)只允许通过一根管子,以处理首尖舱内的液体。对于只允许通过一根管子的要求,通常货舱区域的压载水总管在接近防撞舱壁后截止,再分出一根支管穿过防撞舱壁。该支管上的截止阀阀体直接安装在首尖舱内的舱壁上,且可在干舷甲板以上操纵。对于首尖舱的压排载,则是由支管与总管连接,再由该截止阀的控制来实现。

首尖舱压载管
尾尖舱的压排载
由于大多数的船舶属于尾机舱型,所以围绕机舱布置有燃油舱、淡水舱等大量的液舱;除此之外,机舱内布置的大量的设备,本身具有较大的重量,因此尾部的吃水有一定的保障,并不需要太多的压载水舱。通常尾部的尾尖舱作为压载水舱,其主要目的是来调节因燃油和淡水消耗引起的纵倾变化。对于尾尖舱的压排载,由于离机舱近,通常都是直接由机舱压载水管系引出支管,并设有相关截止阀来实现。

艉尖舱压载管
半潜船压载系统的压排载由于半潜船压载水系统的特殊性,所以笔者把它放在最后单独讲解。相较于普通货船,半潜船的压载水系统在设计时会面临几个难点:一是,由于半潜船在工作时需要将主甲板潜入水下一定深度,因此需要大量的压载水,压载舱的数量会非常多;二是,半潜船为了保证装载作业时间,一般要求在4~6小时内完成从航行吃水下潜至半潜吃水,或半潜吃水上浮至航行吃水,压载水系统需要有极高的压排载速度;三是,半潜船的主甲板由于载货和下潜的要求,载货甲板区域不允许有任何伸出主甲板的空气管头,空气管只能横穿多个压载水舱向高于半潜水线的艏楼或艉楼集中,这就导致了空气管直径受限,压载水管的直径也相应的受到限制。为此,大型半潜船普遍采用压缩空气和压载水泵组合压排载,这样既兼顾高效压排载,又能实现精准快速的调节控制能力,还能避免管路布置上的一些问题和困难。

参考资料:《船舶管舾装设计工艺实用手册》《船舶管路设计基础》《船舶设计实用手册》《钢制海船入级规范》《半潜船工程设计》
作者:小船人的梦想2020年8月16号